For drilling a hole for ceiling light, pipe and duct in wood
Specifications
| Usage | Wood Gypsum Board |
|---|---|
| Material(s) | Body:High Carbon Steel Center Drill:High Carbon Steel Replaceable Blade:High Speed Steel |
| Capacity | 【Bar Length 120mm】Hole sizes:30mm-120mm 【Bar Length 200mm】Hole sizes:30mm-200mm 【Bar Length 300mm】Hole sizes:30mm-300mm 【Applicable depth】Single face:25mm / Both face:50mm |
| Recommended tool(s) | Electric Power Drill |
| RPm | Bar Length 120mm:Less than 1,500rpm Bar Length 200mm:Less than 1,300rpm Bar Length 300mm:Less than 600rpm |
| Shank Shape | :Three Flats |
Sizes


Shank Shape:d Unit:mm
| Product No. | Name | Size | Shank Shape |
|---|---|---|---|
| 36 | Set | 30X120 | 10 ![]() |
QTY(Inner Box):6pcs
Assembly

| Product No. | Description |
|---|---|
| 36-K | 2pcs Set |
QTY(Inner Box):6pcs




Size:D Overall Length:L Spiral Length:SL Shank Shape:d Unit:mm
| Product No. | Name | Size | Overall Length | Spiral Length | Shank Shape |
|---|---|---|---|---|---|
| 36-CD1 | For Plates | 8 | 70 | 45 | 8 |
| 36-CD2 | For Gypsum Board | 5 | 45 | 15 | 8 |
※36-CD1:Shared use of replaceable center drill No.5010.



Unit:mm
| Product No. | Name | Size | Thickness |
|---|---|---|---|
| 36-B120 | Bar | 120 | 8 |
| 36-B200 | Long Bar | 200 | 8 |
| 36-B300 | Long Bar | 300 | 8 |
※Exclusive bars for No.36. Do not share with other Adjustable Circle Cutter.
※Bar includes safety stopper.










Unit:mm
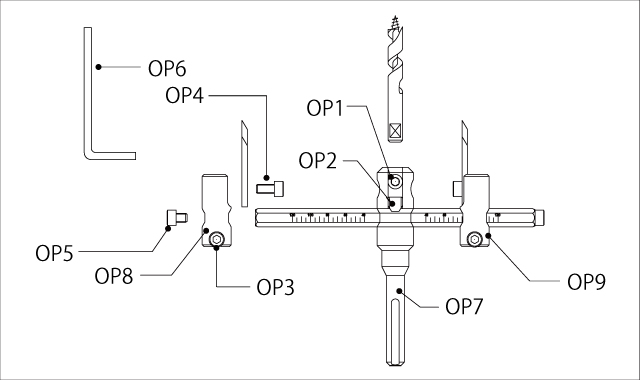
| Product No. | Name | Size |
|---|---|---|
| 36-OP1 | Center Drill set screw | 8X8 |
| 36-OP2 | Bar set screw | 8X8 |
| 36-OP3 | Holder set screw(1pc) | 5X15 |
| 36-OP4 | Replaceable Blade set screw(1pc) | 5X10 |
| 36-OP5 | Safety Stopper(1pc) | 5X6 |
| 36-OP6 | Hex Wrench | 4 |
| 36-OP7 | Main Shaft ※1 | - |
| 36-OP8 | Holder without Replaceable Blade ※2 | Left |
| 36-OP9 | Holder without Replaceable Blade ※2 | Right |
※1 Main Shaft(36-OP7)includes Center Drill set screw(36-OP1) and Bar set screw(36-OP2).
※2 Holder without Replaceable Blade (36-OP8・36-OP9)includes Holder set screw(36-OP3) and Replaceable Blade set screw(36-OP4).
Q & A

① Loosen the Safety Stopper and Holder set screw with the attached Hex Wrench. (For both right & left)

②Pull out the Holder from the bar. (For both right & left)

③ Loosen the Center Drill set screw.

④ Pull out the Center Drill.

⑤Tighten the Bar set screw.
Movie