For drilling a hole into thin and gypsum boards
Specifications
| Usage | Wood (Thin Board) Gypsum Board |
|---|---|
| Material(s) | Body:High Carbon Steel Center Drill:High Carbon Steel Replaceable Blade:High Speed Steel |
| Capacity | Hole sizes: 30mm-120mm 【Applicable depth】Single face: 12mm / Both face: 24mm |
| Recommended tool(s) | Cordless Drill (over 14.4v) Quick Change Impact Driver (over 14.4v) Electric Power Drill |
| RPm | Less than 3,000rpm |
| Shank Shape | :Hexagon |
Caution |
|
Sizes


Shank Shape:d Unit:mm
| Product No. | Name | Size | Shank Shape |
|---|---|---|---|
| 36X | Set | 30X120 | 6.35 ![]() |
QTY(Inner Box):6pcs
Assembly

| Product No. | Description |
|---|---|
| 36X-K | 2pcs Set |
QTY(Inner Box):6pcs


Size:D Overall Length:L Spiral Length:SL Shank Shape:d Unit:mm
| Product No. | Size | Overall Length | Spiral Length | Shank Shape |
|---|---|---|---|---|
| 36X-CD | 8 | 55 | 20 | 8 |

Unit:mm
| Product No. | Name | Size | Thickness |
|---|---|---|---|
| 36X-B120 | Bar | 120 | 8 |
※Exclusive bars for No.36X. Do not share with other Adjustable Circle Cutter.
※Bar includes Safety Stopper.










Unit:mm
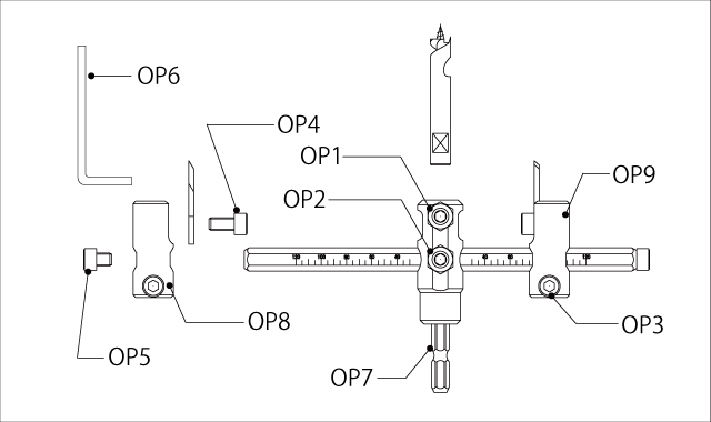
| Product No. | Name | Size |
|---|---|---|
| 36X-OP1 | Center Drill set screw | 8X12 |
| 36X-OP2 | Bar set screw | 8X12 |
| 36X-OP3 | Holder set screw(1pc) | 5X15 |
| 36X-OP4 | Replaceable Blade set screw(1pc) | 5X10 |
| 36X-OP5 | Safety Stopper(1pc) | 5X6 |
| 36X-OP6 | Hex Wrench | 4 |
| 36X-OP7 | Main Shaft ※1 | - |
| 36X-OP8 | Holder without Replaceable Blade ※2 | Left |
| 36X-OP9 | Holder without Replaceable Blade ※2 | Right |
※1 Main Shaft(36X-OP7)includes Center Drill set screw(36X-OP1) and Bar set screw(36X-OP2).
※2 Holder without Replaceable Blade (36X-OP8・36X-OP9) includes Holder set screw(36X-OP3)and Replaceable Blade set screw(36X-OP4).
Bits of knowledge
When replacing the center drill or bar, loosen the nut, then remove the screw.
Movie