Narrow space and plumbing works
Specifications
| Usage | Wood Gypsum Board CLT-28mm |
|---|---|
| Material(s) | Body:High Carbon Steel Center Drill:High Carbon Steel Replaceable Blade:High Speed Steel |
| Capacity | Hole sizes: 25mm-75mm 【Applicable depth】Single face: 30mm / Both face: 60mm |
| Recommended tool(s) | Electric Power Drill |
| RPm | Less than 1,500rpm |
| Shank Shape | :Three Flats |
Caution |
|
Sizes


Shank Shape:d Unit:mm
| Product No. | Name | Size | Shank Shape |
|---|---|---|---|
| 5010A | Set | 25X75 | 10 ![]() |
QTY(Inner Box):3pcs
Assembly

| Product No. | Description |
|---|---|
| 5010A-K | 2pcs Set |
QTY(Inner Box):6pcs


Size:D Overall Length:L Spiral Length:SL Shank Shape:d Unit:mm
| Product No. | Size | Overall Length | Spiral Length | Shank Shape |
|---|---|---|---|---|
| 5010A-CD | 6 | 66 | 28 | 6 |
※Shared use of replaceable center drill for No.5010AT.




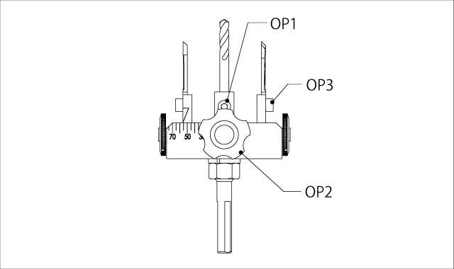
Unit:mm
| Product No. | Name | Size |
|---|---|---|
| 5010A-OP1 | Center Drill set screw | M5X5 |
| 5010A-OP2 | Black Handle(1pc) | - |
| 5010A-OP3 | Replaceable Blade set screw(1pc) | M5X5 |
Bits of knowledge
Q & A

①Loosen both Black Handles.

②Turn the adjustment handle to adjust the size.

③Once the size is adjusted, tighten both Black Handles firmly.
Catalog
Movie