360度回転するヘッドがビス締め・穴あけをサポート
No.5003C マルチコーナーストロングCOBRA/ Multi Corner Strong "COBRA"
※廃番となりました
用途
狭い所での穴あけ、ビス締めに
特長
- コーススレッド120mmまで打込みが可能です
- 穴あけはインパクトビットミドル21mmまで使用可能です
- ヘッド旋回角度が調整できます
仕様
| 材質 | 本体:アルミダイキャスト 軸部:クロムモリブデン鋼 |
|---|---|
| 適用機種 | インパクトドライバ14.4V ドリルドライバ14.4V以上 電気ドリル |
| 適正回転数 | 3,000回転/分以下 |
| 最大トルク | 300kgf.cm(29.4Nm) |
| 軸マークの見方 |
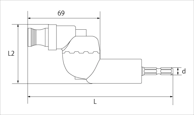
サイズ


全長:L ヘッド長:L2 軸径:d / 単位(mm)
| 品番 | 全長 | ヘッド長 | 軸径 | JANコード |
|---|---|---|---|---|
| 5003C | 143 | 58 | 6.35 |
4962660507809 |
小箱:6入
補助資料
角度調節方法

①付属のレンチで固定ボルトを緩めます

②ヘッド上部の角度を調節します

③かみ合わせ部をずれないように正しく合わせて、固定ボルトをしっかりと締めます


