For drilling a hole for ceiling light, pipe and duct in cement board
Specifications
| Usage | Wood Cement Board Hard wood |
|---|---|
| Material(s) | Body:High Carbon Steel Center Drill:High Carbon Steel with T.C.T. Replaceable Blade:T.C.T. |
| Capacity | 【Bar Length 120mm】Hole sizes: 30mm-120mm 【Bar Length 200mm】Hole sizes: 30mm-200mm 【Bar Length 300mm】Hole sizes: 30mm-300mm 【Applicable depth】Single face: 25mm / Both face: 50mm |
| Recommended tool(s) | Electric Power Drill |
| RPm | Bar Length 120mm:Less than 1,500rpm Bar Length 200mm:Less than 600rpm Bar Length 300mm:Less than 600rpm |
| Shank Shape | :Three Flats |
Sizes


Shank Shape:d Unit:mm
| Product No. | Name | Size | Shank Shape |
|---|---|---|---|
| 36T | Set | 30X120 |
10 ![]() |
| 36TL | Set with 200mm Bar | 30X200 | 10 ![]() |
QTY(Inner Box):6pcs
Assembly

| Product No. | Description |
|---|---|
| 36T-K | 2pcs Set |
QTY(Inner Box):6pcs
※Shared use of replaceable blade for No.5010T and No.5010AT.


Size:D Overall Length:L Spiral Length:SL Shank Shape:d Unit:mm
| Product No. | Size | Overall Length | Spiral Length | Shank Shape |
|---|---|---|---|---|
| 36T-CD | 8 | 70 | 30 | 8 |
※Shared use of replaceable center drill for No.5010T.



Unit:mm
| Product No. | Name | Size | Thickness |
|---|---|---|---|
| 36T-B120 | Bar | 120 | 9 |
| 36T-B200 | Long Bar | 200 | 9 |
| 36T-B300 | Long Bar | 300 | 9 |
※Exclusive bars for o.36 and 36TL. Do not share with other Adjustable Circle Cutter.
※Bar includes Safety Stopper.










Unit:mm
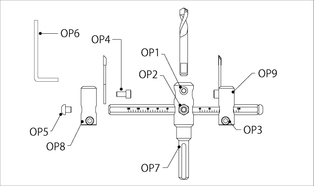
| Product No. | Name | Size |
|---|---|---|
| 36T-OP1 | Center Drill set screw | 8X8 |
| 36T-OP2 | Bar set screw | 8X12 |
| 36T-OP3 | Holder set screw(1pc) | 5X15 |
| 36T-OP4 | Replaceable Blade set screw (1pc) | 5X10 |
| 36T-OP5 | Safety Stopper(1pc) | 6X6 |
| 36T-OP6 | Hex Wrench | 4 |
| 36T-OP7 | Main Shaft ※1 | - |
| 36T-OP8 | Holder without Replaceable Blade ※2 | Left |
| 36T-OP9 | Holder without Replaceable Blade ※2 | Right |
※1 Main Shaft(36T-OP7)includes Center Drill set screw(36T-OP1)and Bar set screw(36T-OP2).
※2 Holder without Replaceable Blade(36T-OP8・36T-OP9)includes Holder set screw(36T-OP3)and Replaceable Blade set screw (36T-OP4).
Q & A
Movie