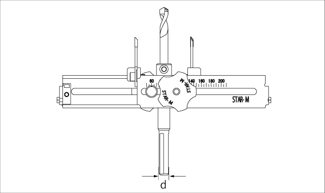
For drilling a hole for ceiling light, pipe and duct in cement board.
Specifications
| Usage | Cement Board Wood Hard Wood |
|---|---|
| Material(s) | Body:High Carbon Steel Center Drill:High Carbon Steel with T.C.T. Replaceable Blade:T.C.T. |
| Capacity | Hole sizes: 60mm-200mm 【Applicable depth】Single face: 25mm / Both face: 50mm |
| Recommended tool(s) | Electric Power Drill |
| RPm | Less than 1,500rpm |
| Shank Shape | :Three Flats |
Sizes


Shank Shape:d Unit:mm
| Product No. | Name | Size | Shank Shape |
|---|---|---|---|
| 5010T | Set | 60X200 |
10 ![]() |
QTY(Inner Box):2pcs
Assembly

| Product No. | Description |
|---|---|
| 36T-K | 2pcs Set |
QTY(Inner Box):6pcs
※ Shared use of replaceable blade for No.36T and No.5010AT.


Size:D Overall Length:L Spiral Length:SL Shank Shape:d Unit:mm
| Product No. | Size | Overall Length | Spiral Length | Shank Shape |
|---|---|---|---|---|
| 36T-CD | 8 | 70 | 30 | 8 |
※Shared use of replaceable center drill for No.36T.





Unit:mm
| Product No. | Name | Size |
|---|---|---|
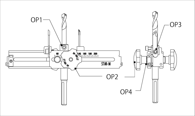
| 5010-OP1 | Center Drill set screw | 5X10 |
| 5010-OP2 | Black Handle without washer(1pc) | - |
| 5010-OP3 | Replaceable Blade set screw(1pc) | 5X10 |
| 5010-OP4 | Washer for Black Handle(1pc) | - |
※Shared use of other assembly for No.5010 and No.5010D.
Bits of knowledge
Movie