ドリルドライバ・インパクトドライバで使用できる自在錐
No.36X 充電ドリル用自在錐/ Adjustable Circle Cutter with Hex Shank
用途
薄板・石膏ボードの穴あけに
特長
- 一台で30mm~120mmまでの穴あけが可能です
- 6.35mm六角軸でインパクトドライバに対応
- 両刃タイプでバランス良くスピーディーな穴あけが可能です
- 薄板、石膏ボードへの穴あけが行えます
仕様
| 適用材 | 薄板木材・石膏ボード |
|---|---|
| 材質 | 本体:普通鋼 センタードリル:普通鋼 替刃:ハイス刃 |
| 適用機種 | ドリルドライバ14.4V以上 インパクトドライバ14.4V以上 電気ドリル |
| 穴あけ可能な材の厚み | 片側:12mm 両側:24mm |
| 穴あけ可能径 | 30mm~120mm |
| 適正回転数 | 3,000回転/分以下 |
| 軸マークの見方 | |
|
サイズ


軸径:d / 単位(mm)
| 品番 | 呼称 | サイズ | 軸径 | 価格(税抜) | JANコード |
|---|---|---|---|---|---|
| 36X | セット | 30X120 | 6.35 |
4,800円 | 4962660364006 |
小箱:6入
交換パーツ
ハイス替刃

| 品番 | 内容 | 価格(税抜) | JANコード |
|---|---|---|---|
| 36X-K | 2枚1組 | 1,500円 | 4962660364013 |
小箱:6入
センタードリル


サイズ:D 全長:L ネジ丈:SL 軸径:d / 単位(mm)
| 品番 | サイズ | 全長 | ネジ丈 | 軸径 | 価格(税抜) | JANコード |
|---|---|---|---|---|---|---|
| 36X-CD | 8 | 55 | 20 | 8 | 910円 | 4962660364020 |
小箱:6入
バー


単位(mm)
| 品番 | 呼称 | サイズ | バー太さ | 価格(税抜) | JANコード |
|---|---|---|---|---|---|
| 36X-B120 | バ- | 120 | 8 | 770円 | 4962660364129 |
※No.36X 充電ドリル用自在錐専用です。他の自在錐との共用はできません
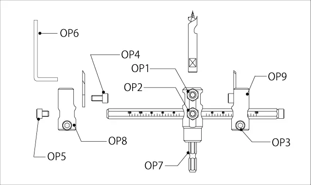
その他










単位(mm)
| 品番 | 呼称 | サイズ | 価格(税抜) | JANコード |
|---|---|---|---|---|
| 36X-OP1 | センタードリル止めネジ | 8X12 | 130円 | - |
| 36X-OP2 | バー止めネジ | 8X12 | 130円 | - |
| 36X-OP3 | ホルダー止めネジ(1ケ) | 5X15 | 90円 | - |
| 36X-OP4 | 替刃止めネジ(1ケ) | 5X10 | 90円 | - |
| 36X-OP5 | 安全ストッパー(1ケ) | 5X6 | 70円 | - |
| 36X-OP6 | 六角レンチ | 4 | 180円 | - |
| 36X-OP7 | 主軸 ※1 | - | 1,480円 | 4962660364037 |
| 36X-OP8 | ホルダー左(替刃なし)※2 | - | 880円 | 4962660364051 |
| 36X-OP9 | ホルダー右(替刃なし)※2 | - | 880円 | 4962660364044 |
※1 主軸(36X-OP7)にはセンタードリル止めネジ(36X-OP1)、バー止めネジ(36X-OP2)がセットされています
※2 ホルダー(36X-OP8・36X-OP9)にはホルダー止めネジ(36X-OP3)、替刃止めネジ(36X-OP4)がセットされています
※3 主軸(36X-OP7)は小箱:6入です
豆知識
- 穴あけ途中で回転が止まってしまうのはインパクトがかかりすぎている為です。そうなると軸に負担がかかり過ぎて軸折れの原因となります。そうならない為にも、インパクトがかかりそうになったら無理をせず錐を軽く上下させてください。(動画参照)
- センタードリルやバーを交換する時にはナットを緩めてから、イモネジを外します。そして交換後はイモネジを締めてから(①)、ナットを取付けてしっかり締めます(②)
(※わかりやすいように素手で行っていますが、実際の作業時は手袋を着用してください)
①ナットを外した状態で、イモネジをしっかりと締めます

②ナットを取付け、しっかりと締めます
よくある質問
- Q1軸が折れてしまいました
- 穴あけ時にインパクトがかかり過ぎていないでしょうか。インパクトのかかり過ぎは軸折れの原因となります。インパクトがかかりそうになったら、錐を軽く上下させてみてください。(豆知識の動画参照)
また、軸が半がかりの状態でご使用になられると軸折れの原因となりますので、ご使用前には軸がしっかりとセット出来ているかをご確認ください。
写真のように軸が折れてしまった時は「主軸」を交換していただくと継続してお使いいただけます。
ドリルドライバでご使用いただくとインパクトがかかりませんので、軸折れが軽減されます。


- Q2穴あけ途中でセンタードリルが抜けてしまいました / バーがグラグラします
- センタードリル止めネジが緩んでいた為だと思われます。インパクトドライバでご使用いただいた場合、インパクトがかかり過ぎるとネジが緩んでくることがあります。
ネジの緩みは、センタードリルの抜けやバーのがたつきなどに繋がりますので、ご使用前には各所のネジがしっかりと締まっているかをご確認ください。
また、穴あけ時はインパクトがかかり過ぎないようにご注意いただき、インパクトがかかりそうになったら、錐を軽く上下させてみてください。(豆知識の動画参照)
- Q3他の自在錐シリーズのロングバーはセットできますか?
- 他の自在錐のロングバーをセットすることはできません。また、互換性がございませんので他の自在錐のバー120mmもセットできません。
- Q4あんぜんカバーに取付けて使用できますか?
- 別売の専用ソケット(36X-OP12)と主軸(36X-OP13)をセットしていただくとあんぜんカバーに取付けてのご使用が可能です。
※主軸とソケットは廃番となりました
別売の充電自在錐用ダストカバーをセットしてお使いいただくことが可能です。(2020年8月25日発売)


単位(mm)
品番 呼称 サイズ JANコード 36X-OP12 充電ドリル用あんぜんカバー対応自在錐ソケット 内径13 4962660364587 36X-OP13 充電ドリル用あんぜんカバー対応専用自在錐主軸 - 4962660364594
- Q5替刃をつける時、どの向きにつけたらよいかわかりません
- 替刃には刻印が印字してあります。充電ドリル用自在錐をセンタードリル止めネジが上になるようにして置き、替刃の外刃・内刃をそれぞれ印字面が右になるようにセットします。
- Q6サイズはどこで合わせたらよいですか?
- ホルダーの内側をバーのメモリに合わせてください
- Q7主軸の交換方法がわかりません
- 主軸が折れてしまった場合は、主軸のみお求めいただいて交換することが可能です。下記の手順で交換してください。

①安全ストッパーを緩め、外す

②ホルダー止めネジを緩め、ホルダーを抜く

③バー止めネジとセンタードリル止めネジのナットを緩める

④バー止めネジとセンタードリル止めネジのイモネジを緩める

⑤主軸を抜く

⑥センタードリルを抜く

⑦主軸を新しいものに交換し、セットする

⑧センタードリルをセットする
(平取面をイモネジの位置に合わせる)
⑨バー止めネジとセンタードリル止めネジのイモネジを締める

⑩バー止めネジとセンタードリル止めネジのナットを締める

⑪ホルダーをセットし、ホルダー止めネジを締める

⑫安全ストッパーを締める
《交換完了》
動画
※映像では回転時に本体の湾曲や逆方向への回転が見られますが、実際にはそのような現象は起こりません
データ・カタログ
カタログページ
製品画像データ
内容:内容:自在錐・充電ドリル用自在錐・超硬自在錐・ダイヤモンド自在錐
ランキングデータ(2025年)
- 充電ドリル用自在錐 30X120
- 自在錐 30X120
- ワンタッチ自在錐 60X200
- 超硬自在錐 ロングバー付 30X200
- 超硬ワンタッチ自在錐 60X200
関連製品



